How To:
Replace Casement Window Operator
Before You Begin
It's important to select the correct operator on your window.
Determine the arm length by measuring from the center of the guide button at the end of the arm to the center of the pivot point rivet. Left or right-hand operation is determined by viewing the window from the inside.
Step 1.
Fully open the window and remove the old operator.
Step 2.
Attach the crank handle to the new operator (do not tighten the set screw) and rotate the handle until the operating arm handle is on the bottom.
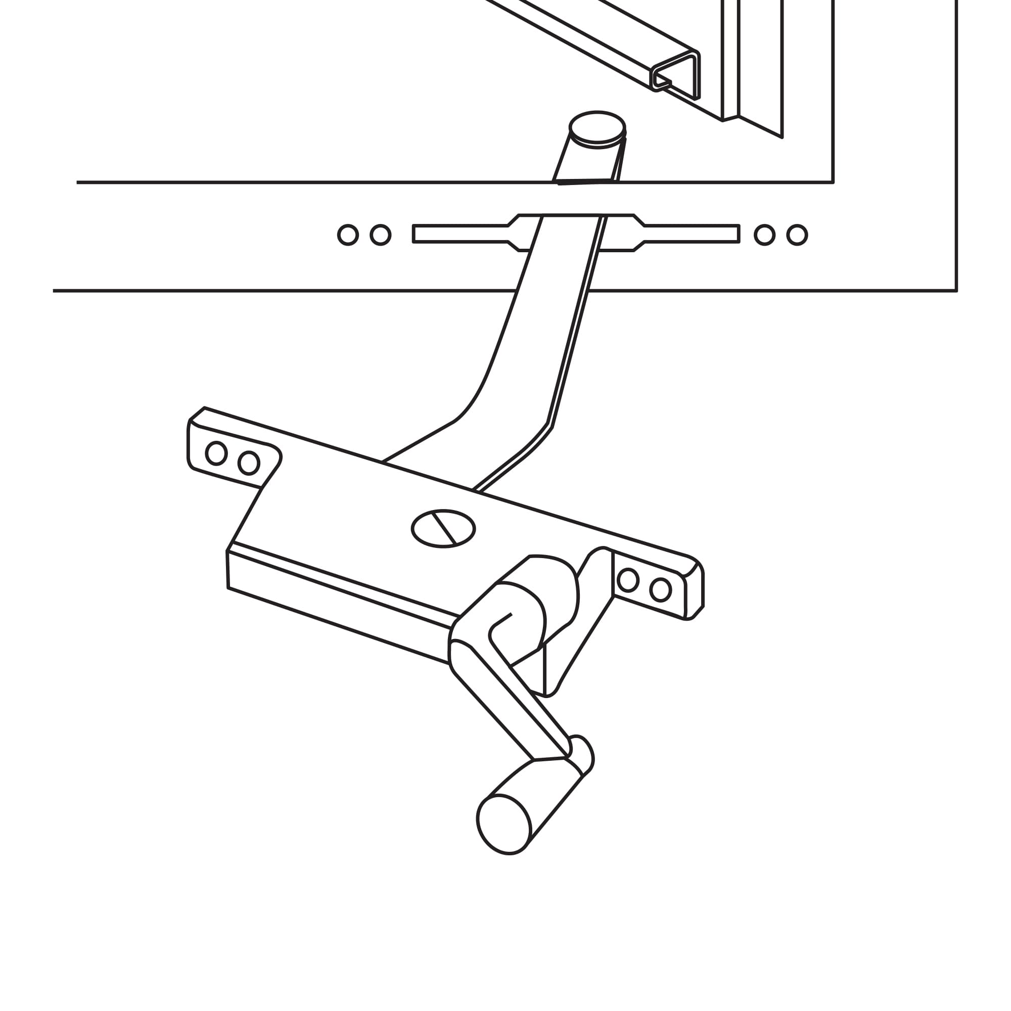
Step 3.
Slide the arm through the slot in the window frame and insert the guide button — located at the end of the arm — into the track channel at the bottom of the window.

Step 4.
Insert, align, and tighten the screws into the holes on the hardware and into the provided the operator area.
Step 5.
Rotate the handle until the window is closed. Remove the crank handle and replace it by positioning the handle in the same position as in Step 2 (handle on the bottom). Tighten the set screw.
Your casement window operator is now replaced and ready to be used.